云南元谋发现迄今已知最早的长臂猿化石
作者: 发布日期:2022-10-04 浏览:
中国西南(云南元谋)新发现的小型猿类化石提供了已知最早长臂猿的证据。长臂猿科现存20种,主要生活在中南半岛的亚洲热带、亚热带地区,包括我国华南和东南亚。在我国境内现存仅4-6种。然而,此类化石稀少,多数发现于华南和东南亚不老于200万年前的洞穴地点中。云南元谋新发现的被命名为元谋小猿(Yuanmoupithecus xiaoyuan)的小型猿类,被科学家确定为迄今发现的最早的长臂猿。这一发现将长臂猿化石记录向前推至距今7-8百万年前。9月13日,中国科学院昆明动物研究所、美国纽约大学、中科院古脊椎动物与古人类研究所、云南省文物考古研究所、中科院地质与地球物理研究所、云南大学、楚雄州博物馆和元谋人博物馆合作完成的研究成果,发表在《人类进化》上。
科研团队详细描述了收藏于云南省文物考古研究所、元谋人博物馆、昆明动物博物馆的元谋小猿牙齿,以及新发现的不到两岁的不完整的左下侧面骨化石。研究发现,牙齿和面骨的形态特征与现生长臂猿尤其是冠长臂猿类相似,但有些特征更原始,指示其可能为所有现生长臂猿的祖先。根据元谋小猿牙齿大小计算,元谋小猿与现生长臂猿的平均体重相近,约为6千克左右。
此前发现于印度中中新世(距今12.5-13.8百万年)的一枚下第三臼齿(命名为Kapi ramnagarensis)被认为是更早的长臂猿,而研究团队经过详实的分析对比证实发现,其不是长臂猿,而是与现生猿类没有密切关系的更原始的灵长类,或与印度晚中新世古猿有亲缘关系。
该研究项目负责人、昆明动物所昆明动物博物馆研究员吉学平,在一次野外调查中发现了元谋小猿幼年面骨这一关键标本。他多次到昆明动物所标本库与现生长臂猿头骨进行对比,确认标本属于长臂猿类,并到古脊椎所开展高精度CT扫描。2018年,纽约大学人类进化中心教授Terry Harrison及其他合作者,对云南省文物考古研究所和元谋人博物馆过去30年来收藏的出自元谋的长臂猿牙齿标本开展研究,首次得知长臂猿祖先类群面部特征的信息。尽管元谋小猿标本稀少,但经过细致的分析对比研究,最终可以证实元谋小猿是现生长臂猿的晚中新世时期的最可能的直接祖先。
Terry Harrison认为,元谋小猿的发现推进了此前不清晰的东亚小型猿类进化史的发展。遗传学研究表明,长臂猿从人和猿共同祖先的支系分化出来的时间约是距今22-17百万年,而冠长臂猿类祖先分化的时间约为距今8百万年前。此次发现连同之前云南昭通发现的金丝猴最早的祖先-——中猴化石的证据表明,分子证据与化石证据推断的物种起源时间基本吻合,古生物形态学和分子生物学研究成果可以相互印证。然而,关于长臂猿科的演化,目前仍有1000多万年的“缺环”有待发现。在华南和东南半岛持续的野外科考或发现更多的长臂猿进化史的关键证据,尤其是6-2百万年间的空白时段,这一时段也是古老型灵长类动物群向现代型灵长类动物群交替的关键时期。
研究工作得到国家自然科学基金、云南省自然科学基金基础研究重点项目、中科院战略性先导科技专项(B类)等的支持。

图1.元谋小猿幼年上颌骨Infant maxilla_recompress

图2.元谋小猿MicroCT影像图

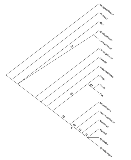
图3.元谋小猿的分支系统关系

图4.元谋小猿生活场境复原图,陈瑜绘图
【上一篇】 中科院海洋所在西风带长期演化研究方面取得进展
【下一篇】 中科院成都生物所等揭示青藏高原碳氮循环过程